
中证智能财讯 红塔证券(601236)8月31日披露2024年半年度报告。2024年上半年,公司实现营业收入10.28亿元,同比增长31.85%;归母净利润4.49亿元,同比增长52.27%;扣非净利润4.53亿元,同比增长59.91%;经营活动产生的现金流量净额为7.49亿元,上年同期为-44.39亿元;报告期内,红塔证券基本每股收益为0.1元,加权平均净资产收益率为1.92%。公司2024年半年度分配预案为:拟向全体股东每10股派现0.47元(含税)。


以8月30日收盘价计算,红塔证券目前市盈率(TTM)约为66.84倍,市净率(LF)约为1.32倍,市销率(TTM)约为21.51倍。

公司近年市盈率(TTM)、市净率(LF)、市销率(TTM)历史分位图如下所示:



根据半年报,公司第二季度实现营业总收入6.4亿元,同比增长121.12%,环比增长65.10%;归母净利润3.3亿元,同比增长373.41%,环比增长175.71%;扣非净利润3.34亿元,同比增长442.19%,环比增长180.25%。

资料显示,公司的主要业务为自营投资业务板块、财富管理业务板块以及机构服务业务板块。
盈利能力方面, 2024年半年度公司加权平均净资产收益率为1.92%,同比上升0.64个百分点。

2024年上半年,公司经营活动现金流净额为7.49亿元,同比增加51.88亿元;筹资活动现金流净额9692.05万元,同比增加1.22亿元;投资活动现金流净额-3007.53万元,上年同期为-2849.62万元。

2024年上半年,公司营业收入现金比为743.75%,净现比为166.76%。

资产重大变化方面,截至2024年上半年末,公司交易性金融资产较上年末增加1.63%,占公司总资产比重下降2.77个百分点;其他债权投资合计较上年末增加20.69%,占公司总资产比重上升2.62个百分点;其他权益工具投资合计较上年末增加48.10%,占公司总资产比重上升1.92个百分点;金融投资较上年末增加15.26%,占公司总资产比重上升1.77个百分点。

负债重大变化方面,截至2024年上半年末,公司卖出回购金融资产款较上年末增加61.80%,占公司总资产比重上升6.81个百分点;应付短期融资款较上年末增加196.95%,占公司总资产比重上升2.95个百分点;交易性金融负债合计较上年末减少66.64%,占公司总资产比重下降3.34个百分点;其他负债较上年末减少40.45%,占公司总资产比重下降2.13个百分点。

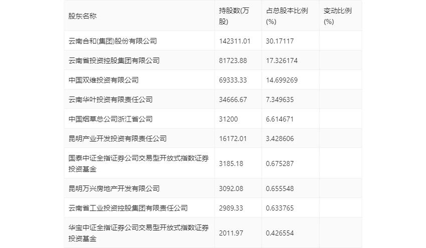
半年报显示,2024年上半年末公司十大流通股东中,持股最多的为云南合和(集团)股份有限公司,占比30.17%。十大流通股东名单相比2024年一季报维持不变。在具体持股比例上,国泰中证全指证券公司交易型开放式指数证券投资基金、华宝中证全指证券公司交易型开放式指数证券投资基金持股有所上升。

筹码集中度方面,截至2024年上半年末,公司股东总户数为9.05万户,较一季度末下降了5029户,降幅5.27%;户均持股市值由一季度末的35.26万元下降至33.47万元,降幅为5.08%。

指标注解:
市盈率
=总市值/净利润。当公司亏损时市盈率为负,此时用市盈率估值没有实际意义,往往用市净率或市销率做参考。
市净率
=总市值/净资产。市净率估值法多用于盈利波动较大而净资产相对稳定的公司。
市销率
=总市值/营业收入。市销率估值法通常用于亏损或微利的成长型公司。
文中市盈率和市销率采用TTM方式,即以截至最近一期财报(含预报)12个月的数据计算。市净率采用LF方式,即以最近一期财报数据计算。
市盈率为负时,不显示当期分位数,会导致折线图中断。