Archive: 2026年1月15日

期货持仓龙虎榜数据介绍

期货持仓龙虎榜_期货龙虎榜数据_龙虎榜持仓排名分析

每个交易日后1小时(各交易所有所不同),上海期货交易所、大连商品交易所、郑州商品交易所、中国金融期货交易所会分别发布每日的龙虎榜数据,数据包含各期货公司在各品种合约中的成交量、买持仓量和卖持仓量排名。(注:龙虎榜是沿用股票中龙虎榜的说法,实际各交易所公布的数据名称为:交易排名或持仓排名)。

每日龙虎榜的发布不会涵盖所有交易中的合约,会根据当期货合约持仓量达到规定条件时才会发布相关数据,每个交易所的发布规则略有不同。

龙虎榜数据中,各期货公司的成交与持仓数据包含散户与机构的所有交易数据,因此不能简单的认为是主力的交易动向,还需结合实际盘面与中期的持仓数据走势进行分析。

成交量

包括各期货公司的成交量,增减量(单位:手)

期货龙虎榜数据_期货持仓龙虎榜_龙虎榜持仓排名分析

龙虎榜成交量

买持仓量

包括各期货公司的买单持仓量,增减量(单位:手)

卖持仓量

包括各期货公司的卖单持仓量,增减量(单位:手)

期货龙虎榜数据_期货持仓龙虎榜_龙虎榜持仓排名分析

双向持仓

每个期货公司都有双向持仓,因为期货公司的持仓数据包含了所有在期货公司开户的持仓数据,有散户,有大户,有机构,有开多的就有开空的,同时,交易账户也有锁仓等双向交易操作。

龙虎榜持仓排名分析_期货持仓龙虎榜_期货龙虎榜数据

螺纹钢持仓龙虎榜

净持仓

净持仓量是期货公司持买单量与卖单量的差值。为正数,则持净买单,反之,则持净卖单。

龙虎榜持仓排名分析_期货持仓龙虎榜_期货龙虎榜数据

龙虎榜净持仓

期货持仓龙虎榜_龙虎榜持仓排名分析_期货龙虎榜数据

螺纹钢净持仓龙虎榜

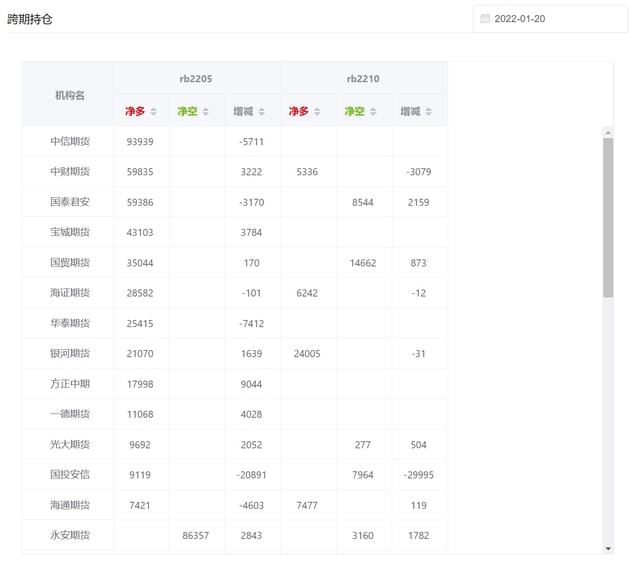
跨期持仓

每个品种每个月都有一个交易合约,合约期为1年,因此,各投资者可根据情况选择不同月份的合约进行交易。在分析过程中看到某个交易所席位在主力合约中持净买单,不能简单的认为该席位为多头交易,需要观察其他月份合约的持仓情况进行确认是多头交易还是空头交易或是跨期套利交易,具体情况还需具体分析。

龙虎榜持仓排名分析_期货龙虎榜数据_期货持仓龙虎榜

螺纹钢跨期持仓

跨品种持仓

在商品交易中,各品种间可能存在价格相关性。有产业链决定,也有短期市场影响,因此就会诞生跨品种套利的交易模式,交易者在分析持仓数据的时候也需要关注。

龙虎榜持仓排名分析_期货持仓龙虎榜_期货龙虎榜数据

螺纹钢、铁矿石、动力煤跨品种持仓

机构净持仓

在每个品种上榜(持仓量在前20位)的期货交易席位在每天的龙虎榜数据中都能计算出净持仓量,从而能笼统的确定出多空双方的阵营,通过对比可看出多空双方的持仓走势

期货龙虎榜数据_龙虎榜持仓排名分析_期货持仓龙虎榜

螺纹钢机构净持仓

持仓与价格

通过机构席位的持仓量走势与该品种的价格走势对比,可以发现该席位在一段时间内的持仓走势与价格走势的一致性是否足够吻合,从而确定一段时间内走势的主力名单,关注主力每日的持仓变化对于走势的研判有较强的辅助作用。(注:有效的主力名单还需结合套利等进行综合研判)

龙虎榜持仓排名分析_期货持仓龙虎榜_期货龙虎榜数据

超详细整理关于上证50etf期权交易规则详解?

上证50ETF期权就是股票,唯一区别标的物上证指数,会看大盘吧,上证50ETF交易两个方向认购做多,认沽做空,双向t+0交易没了,跟期货一样,对的,玩的也是合约,唯一区别没有保证金不会爆仓,下文为大家科普超详细整理关于上证50etf期权交易规则详解?

50etf期权行权价_50etf期权行权日_期权etf50怎么玩

一、上证50ETF期权交易规则及流程详解?

1.合约类型:

50ETF认购期权:在约定时间,以约定价格买入50ETF基金的权利。50ETF认沽期权:在约定时间,以约定价格卖出50ETF基金的权利。

2.交易方向

:认购期权买方:付出权利金,获得期权合约赋予的在到期日,以约定价格买进50ETF基金的权利,但不承担必须买进的义务。(买方看涨交易)

认购期权卖方:收取权利金,承担买方一旦行权时,按合约规定卖出50ETF基金的义务。(卖方看跌交易)

认沽期权买方:付出权利金,获得期权合约赋予的在到期日,以约定价格卖出50ETF基金的权利,但不承担必须卖出的义务。(买方看跌交易)

认沽期权卖方:收取权利金,承担认沽期权买方一旦行权时,按合约规定买入50ETF基金的义务。(卖方看涨交易)

3.到期月份:当月、下月、以及连续两个季月:

如当前月份为9月,则到期月份分别为9月、10月、12月、3月。

4.行权价格:

最少一个平值、两个实值、两个虚值,对于认购期权而言,行权价低于市场价称为实值、等于市场价称为平值、高于市场价称为虚值,从实值期权到虚值期权,权利金报价也将应将从贵到便宜。

对于认沽期权而言,行权价高于市场价称为实值,等于市场价称为平值,低于市场价称为虚值,从实值期权到虚值期权,权利金报价也对应从贵到便宜。

5.到期日(行权日):

到期月份第四个星期三(遇法定节假日顺延)图文来自:期权酱

到时,虚值期权到期价值归零,实值期权既未申报行权,也未进行平仓,到期后价值也将归零,需重点关注到期日风险。合约大小:每张期权合约代表10000份50ETF基金。

期权etf50怎么玩_50etf期权行权价_50etf期权行权日

二、超详细整理关于上证50etf期权交易规则详解?↑你懂得(0门槛)

1.交易时间

集合竞价:每个交易日的 9:15 至 9:25,就像拍卖会开始前大家先集中报价,交易所根据这些报价来确定开盘价.

连续竞价:9:30 至 11:30 以及 13:00 至 15:00,在这段时间内,大家可以随时报价买卖,价格合适就可以成交.

构建和解除组合策略保证金时间:延长至 15:15,给投资者更多时间去调整投资组合.

行权日申报行权时间:延长至 15:30,其中行权指令合并申报仅在 15:00 至 15:30 进行,到了行权日,如果你想行使期权的权利,要在这个时间段内申报.

2.合约标的与单位:

合约标的:就是上证 50 交易型开放式指数证券投资基金,简称 50ETF,它包含了上海证券交易所 50 个大公司的股票,能反映上海股市的大致情况.

合约单位:每张合约代表 10000 份上证 50ETF 基金份额,也就是说,你买卖期权时,是以 “张” 为单位,一张合约对应的就是 10000 份基金.

3.合约类型:

认购期权:可以理解为看涨期权,你买了认购期权,就相当于有了一个在未来某个时间以约定价格买入 50ETF 的权利。比如你觉得 50ETF 未来会涨价,就可以买认购期权,如果到期时真的涨了,你就可以用较低的约定价格买入,再按市场高价卖出,赚取差价.

认沽期权:也叫看跌期权,买了认沽期权,就有了在未来以约定价格卖出 50ETF 的权利。要是你预计 50ETF 会跌价,那就可以买认沽期权,到期时如果价格真的跌了,你就可以用较高的约定价格卖出,再按市场低价买回,获得利润.

4.报价单位:

最小报价变动单位是 0.0001 元人民币,就像商品的最小计价单位一样,期权价格的变动也是按这个最小单位来的.

5.交易方式:

T+0 交易制度:当天买入的期权合约当天就可以卖出,你可以在一天内多次买卖期权合约,根据市场的变化及时调整自己的投资策略,非常灵活.

交易原则:遵循价格优先、时间优先的原则。价格优先就是谁出的价格好谁先成交,如果价格一样,那就看谁先下单,先下单的先成交.

6.委托类型:

包括普通限价委托、市价剩余转限价委托、市价剩余撤销委托、全额即时限价委托、全额即时市价委托以及业务规则规定的其他委托类型,你可以根据自己的需求和市场情况选择合适的委托方式.

7.合约到期月份与行权价格:

到期月份:包括当月、下月及随后两个季月,比如现在是 11 月,你可以选择 11 月、12 月或者明年的 3 月和 6 月到期的期权,给投资者提供了不同时间跨度的选择.

行权价格序列:对于同一到期月份的合约,包括 1 个平值、4 个实值、4 个虚值。平值就是行权价格和当前 50ETF 市场价格差不多的合约;实值期权对于认购期权来说,是行权价格低于市场价的,对于认沽期权来说,是行权价格高于市场价的,这种期权有内在价值;虚值期权则相反,认购期权的行权价格高于市场价,认沽期权的行权价格低于市场价,行权的话不划算,但价格相对便宜.

8.行权与交割:

行权方式:采用欧式行权,只能在到期日当天行使权利,到期日通常是到期月份的第四个星期三,要是遇到法定节假日或休市日就顺延至次一交易日.

交割方式:主要采用实物交割,特殊情况下可能采用现金结算 。比如认购期权的买方如果行权,需要准备足额资金,卖方则要准备足量的 50ETF 基金份额;认沽期权的买方要准备足量的 50ETF 基金份额,卖方要准备足额资金.

9.涨跌幅限制:

平值与实值期权的涨跌幅较大,而虚值期权的涨跌幅较小,具体的涨跌幅计算公式根据交易所规定执行,这是为了控制市场风险,避免价格波动过大.

以上就是关于超详细整理关于上证50etf期权交易规则详解?的内容知识点,希望对大家有所帮助。

龙虎榜  东贝集团上涨9.96%,知名游资上海浦东新区世纪大道卖出479.12万元

4月24日,东贝集团上涨9.96%登上龙虎榜,连续三个交易日内,涨幅偏离值累计达20%,知名游资卖出。

龙虎榜显示,买入前五合计买入6005.35万元,卖出前五合计卖出4003.61万元,净额2001.73万元。

其中,开源证券股份有限公司西安太华路证券营业部、东莞证券股份有限公司常熟东南大道证券营业部、国金证券股份有限公司南京双龙大道证券营业部分别买入1658.21万元、1356.39万元、1231.74万元。

中信建投证券股份有限公司十堰北京北路证券营业部、国泰海通证券股份有限公司总部、高盛(中国)证券有限责任公司上海浦东新区世纪大道证券营业部分别卖出2167.21万元、515.74万元、479.12万元。

买入金额最大的前5名营业部 买入额/万 卖出额/万 净额/万 开源证券股份有限公司西安太华路证券营业部 1658.21 0.00 1658.21 东莞证券股份有限公司常熟东南大道证券营业部 1356.39 0.00 1356.39 国金证券股份有限公司南京双龙大道证券营业部 1231.74 0.00 1231.74 中泰证券股份有限公司常州惠国路证券营业部 1103.99 0.00 1103.99 国投证券股份有限公司福州分公司 655.02 0.00 655.02 卖出金额最大的前5名营业部 买入额/万 卖出额/万 净额/万 中信建投证券股份有限公司十堰北京北路证券营业部 0.00 2167.21 -2167.21 国泰海通证券股份有限公司总部 0.00 515.74 -515.74 高盛(中国)证券有限责任公司上海浦东新区世纪大道证券营业部 0.00 479.12 -479.12 开源证券股份有限公司十堰郧阳沿江大道证券营业部 0.00 425.34 -425.34 中信证券股份有限公司上海分公司 0.00 416.21 -416.21